
P2006T SMP
Twin Engine Aircraft
The Future is Now

Request Brochure
-
Horsepower200 hp
-
Max Cruise150 kts
278 km/h -
Max Range669 nm
(1239 km -
Useful Load906 lb
411 kg
Smart Platform
The TECNAM SMP is based on the revolutionary aircraft TECNAM P2006T, the only twin engine aircraft that can fully match all the today special missions’ purposes due to its characteristics.
- Fully CS/FAR 23 IFR certified – both analogue and glass cockpit available and validated in many foreign countries in addition to EASA/FAA.
- Low acquisition cost.
- Single pilot operations approved also in IFR.
- Extremely low operation and maintenance costs.
- High flexibility with both Aviation and Automotive fuel (up to 10% ethanol content) approved, also mixed in any ratio
- High payload capacity with special weight saving program
- Wide speed range (cruise from 55 to 145 kts)

Tecnam Means
Flying with Style
Overview

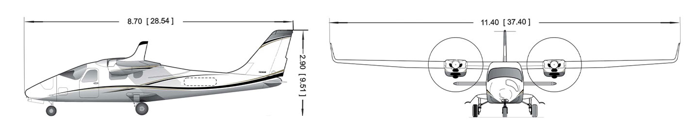
Dimensions
Specifications
Certifications
CS23//FAR23
This category can be available in all countries. Tecnam can apply for the Validation of this model with your Local Authorities.
Request Brochure
X
Find out more about the P2006 SMP

"With the Tecnam P2006T SMP we are able to offer smart surveying, covering a larger area at almost the cost of a drone. Now with the second airplane we are doubling our capacity and offering our services not only in the Netherlands but also in close countries such as the UK."
Albert Brouwer
Founder, kavel10.nl